Tesla Battery Australia Wiring Diagram Electric Vehicle Battery Technologies Springerlink
Tesla powerwall 2 wiring diagram. Tesla switch battery charging. Updated tesla module rv installation
tesla battery australia wiring diagram
Download PDF
Tesla powerwall 2 wiring diagram


Image result for tesla powerwall 2 wiring diagram. Tesla car charger wiring diagram. Image result for tesla powerwall 2 wiring diagram. William's ev bimmer 325i: tesla battery interface wiring diagrams
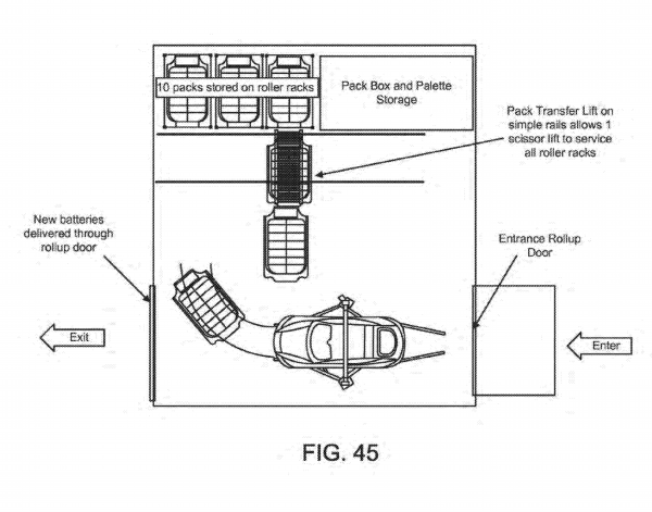
Tesla Preparing for Battery Swapping Stations? | TheDetroitBureau.com
Q CELLS Australia | High-Performance Solar Panels | Q.HOME Knowledge Centre
Fronius | Natural Solar
Tesla Car Charger Wiring Diagram | Wiring Library
William's EV Bimmer 325i: Tesla Battery Interface Wiring Diagrams

Comments
Post a Comment